| Затворы поворотные дисковые чугунные межфланцевые ABRA Ду32-600, Ру16 BUV-VF826 GG25/GGG40/EPDM и BUV-VF863 GG25 /AISI316/ NBR и BUV-VF866 GG25/AISI316/EPDM Строительная длина EN558-1 GR (серия) 20 = ISO 5752 "short” Конструктивные решения и стабильное качество производства обеспечивает поворотным затворам ABRA-BUV самую высокую степень герметичности – класс «А» (по ГОСТ 9544-93). Особенностью затворов ABRA является высоконадежный и долговечный сквозной шток и жесткая посадка диска (никаких штифтов, заклепок, пинов, крепежных пальцев и т.п.) Поворотные затворы ABRA, в основном, применяются в системах тепло-, водоснабжения, вентиляции и кондиционирования. Уплотнение и диск затворов ABRA BUV-VF826, ABRA BUV-VF866, ABRA BUV-VF863 обладают отличной химической устойчивостью к: воде; теплоносителям; гликолевым и спиртовым антифризам; щелочным и нейтральным средам, таким как моющие растворы; воздуху; азоту и т.п. Уплотнение NBR и нержавеющий диск затвора ABRA BUV-VF863 дополнительно обладают отличной химической устойчивостью к: воде, в том числе морской воде, деминерализованной, дистиллированной, газированной воде и т.п.; минеральным маслам; бензинам неэтилированным; большинству буровых растворов; алифатическим углеводородам (метан, пропан, бутан); хладагентам ("хладонам", "фреонам", холодильным агентам) групп HFA, HFB, HFC; дизельному горючему с содержанием ароматических углеводородов не более 40% (обычное дизтопливо); растительным и животным маслам и жирам; большому количеству разбавленных кислот и оснований, солевых растворов при комнатной температуре. Уплотнение и диск затвора ABRA BUV-VF863 обладают средней химической устойчивостью к нижеследующим средам: дизтопливо с содержанием ароматических углеводородов свыше 40%, этилированные бензины; биологически разлагающиеся гидравлические жидкости; силиконовые масла и жиры (масла могут вызвать сокращение) Уплотнение и диск затвора ABRA BUV-VF863 обладают низкой / нулевой химической устойчивостью к нижеследующим средам: ароматические углеводороды (толуол, бензол); хлорированные углеводороды (трихлор-, перхлорэтилен); тормозные жидкости и антифризы на гликолевой основе (рекомендовано уплотнение EPDM); хладагенты ("хладоны", "фреоны", холодильные агенты) группы HFD; ацетон; этиловый, бутиловый и т.д., эфиры. В качестве основных преимуществ использования затворов поворотных ABRA следует упомянуть: - Класс герметичности А (наилучший, перекрытия потока в обоих направлениях) - Малое гидравлическое сопротивление затворов ABRA обеспечивает великолепные гидравлические характеристики.
- Поворотный затвор межфланцевый ABRA - это запорно-регулирующая трубопроводная арматура с минимальной практически достижимой строительной длиной и весом (значительно легче задвижек и шаровых кранов)
- Тот факт, что с рабочей средой контактируют только две детали: седловое уплотнение и диск
- Затворы проходят двойной контроль качества - после гидроиспытаний дополнительно испытываются воздухом
- При монтаже не нужны дополнительные уплотнения, поскольку само седло затвора служит уплотнением соединения
- Высокое качество изготовления и проверенные материалы конструкции обеспечивают отличные эксплуатационные характеристики.
- Конструкция поворотного затвора ABRA обеспечивает при необходимости полную разборность
- Оптимальная цена приобретения, низкая стоимость установки и обслуживания (возможность приобретения запасных седел)
- Широкий выбор средств управления (ручка до Ду300, редуктор, электро-пневмопривод)
- Очевидно, что в силу соображений симметрии, затвор поворотный ABRA допускает возможность подачи среды в любом направлении
- Сквозной шток-жесткая посадка диска на фрезерованный шток, никаких штифтов, заклепок, пинов, крепежных пальцев и т.п.
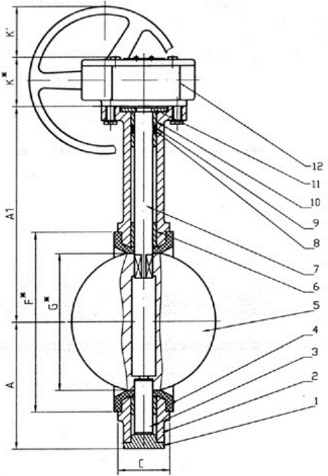
Условное графическое изображение затвора поворотного дискового на чертежах и схемах: |  Вариант 1. |  Вариант 2. | Чертеж габаритный затвора поворотного дискового чугунного межфланцевого ABRA-BUV-VF826D и ABRA-BUV-VF863D и ABRA-BUV-VF866D с рукояткой Ду32-300 (размеры в таблице ниже, габариты затвора с редуктором - еще ниже):  | |  В положении “Закрыто” | Профилированный под квадрат верх штока является существенным преимуществом в случае установки электропневмопривода | ABRA BUV-826 DN32-150 PN10/16, DN200-300 PN16 ABRA BUV-863 DN32-150 PN10/16, DN200-300 PN16 ABRA BUV-866 DN32-150 PN10/16, DN200-300 PN16 | Чертеж габаритный затвора поворотного дискового чугунного межфланцевого ABRA-BUV-VF826D и ABRA-BUV-VF863D и ABRA-BUV-VF866D с редуктором Ду32-600 (размеры в таблице ниже): |  ABRA BUV-826 DN32-150 PN10/16, DN200-300 PN16 ABRA BUV-863 DN32-150 PN10/16, DN200-300 PN16 ABRA BUV-866 DN32-150 PN10/16, DN200-300 PN16   В положении “Закрыто” |  ABRA BUV-826 DN350-600 PN16 ABRA BUV-863 DN350-600 PN16 ABRA BUV-866 DN350-600 PN16  | | Диаграмма Давление / Температура для затвора поворотного дискового ABRA-BUV-VF826Dxxx и ABRA-BUV-VF866D Ду32-600, Ру16  | Диаграмма Давление / Температура для затвора поворотного дискового ABRA-BUV-VF863Dxxx Ду32-600, Ру16 | Диаграммы определяют рабочую область дла затвора поворотного дискового ABRA-BUV-VF826Dxxx Ду 032-600, Ру16 и ABRA-BUV-VF863Dxxx Ду 032-600, Ру16 и ABRA-BUV-VF866Dxxx Ду 032-600, Ру16 в координатах Давление (в барах приборного) / Температура (° C). Габаритные размеры, рабочие давления и температуры, крутящие моменты, вес и Kv затвора поворотного дискового чугунного ABRA-BUV-VF826DxxxH(BS*) Ду32-600 Ру16 и ABRA-BUV-VF863DxxxH(BS*) Ду32-600 Ру16 и ABRA-BUV-VF866DxxxH(BS*) Ду32-600 Ру16, межфланцевого. Размеры в мм. - Покрытие поверхности (окраска) порошковое эпоксидное электростатическое с предварительным нагревом и выдержкой до полной полимеризации. | Ду / DN | 32 / 40 | 50 | 65 | 80 | 100 | 125 | 150 | 200 | 250 | 300 | 350 | 400 | 450 | 500 | 600 | (1 1/4" - 1 1/2") | (2") | (2 1/2 ") | (3") | (4") | (5") | (6") | (8") | (10") | (12") | (14") | (16") | (18") | (20") | (24") | | Ру / PN | 16 бар (1,6 МПа) | | Диапазон рабочих температур, °C | Для EPDM: (Максимальная температура 110 °C. Минимальная температура -20 °C. Рабочая температура от -15 до +95 °C Для NBR: Максимальная температура 90 °C. Минимальная температура -20 °C. Рабочая температура от -15 до +70 °C | | Код товара ABRA-BUV | VF826 или VF863 или VF866 D040 | VF826 или VF863 или VF866 D050 | VF826 или VF863 или VF866 D060 | VF826 или VF863 или VF866 D080 | VF826 или VF863 или VF866 D100 | VF826 или VF863 или VF866 D125 | VF826 или VF863 или VF866 D150 | VF826 или VF863 или VF866 D200 | VF826 или VF863 или VF866 D250 | VF826 или VF863 или VF866 D300 | VF826 или VF863 или VF866 D350 BS* | VF826 или VF863 или VF866 D400 BS* | VF826 или VF863 или VF866 D450 BS* | VF826 или VF863 или VF866 D500 BS* | VF826 или VF863 или VF866 D600 BS* | | С - строительная длина Строительная длина EN558-1 GR (серия) 20 = ISO 5752 "short", мм | 33 | 43 | 46 | 46 | 52 | 56 | 56 | 61 | 68 | 78 | 78 | 102 | 114 | 127 | 154 | | Y-межосевое расстояние присоединительных отверстий (фланцев), мм | 100/110 | 125 | 145 | 160 | 180 | 210 | 240 | 295 | 355 | 410 | 470 | 525 | 585 | 650 | 770 | | A1 - высота от оси трубы до верхнего фланца, мм | 117 | 133 | 143 | 154 | 166 | 181 | 201 | 231 | 275 | 298 | 355 | 390 | 435 | 440 | 516 | | A , мм | 54 | 70 | 79 | 85 | 106 | 107 | 129 | 175 | 208 | 239 | 280 | 329 | 359 | 377 | 436 | | L - длина рукоятки от оси затвора, мм | 267 | 360 | 499 | 499 | не поставляется с рукояткой | | K - высота рукоятки, мм | 28 | 38 | 40 | 40 | не поставляется с рукояткой | | B1 - квадрат штока , мм | 11x11 | 11x11 | 11x11 | 11x11 | 14x14 | 17x17 | 17x17 | 17x17 | 22x22 | 27x27 | - | | B1 - диаметр штока, мм | - | 31,6 | 37,95 | 42,86 | 45,72 | 53,96 | | B2 - шпонка, мм | - | 10x8 | 12x8 | 16x10 | | Ø G* , мм | 38,1 | 46,7 | 59,4 | 75,3 | 98,2 | 117,1 | 147,9 | 195,2 | 242,7 | 292,4 | 325,6 | 380,3 | 429,3 | 481 | 580,4 | | Ø E* , мм | 80 | 97 | 111 | 129 | 153 | 183 | 208 | 266 | 317 | 374 | 429 | 480 | 530 | 582 | 662 | | Ø F* , мм | 70 | 84 | 96 | 115 | 140 | 168 | 195 | 249 | 301 | 356 | 415 | 460 | 510 | 560 | 660 | | Ø H* , мм | 48 | 66 | 80 | 90 | 114 | 137 | 160 | 207 | 260 | 308 | 348 | 410 | 458 | 510 | 614 | | LD , мм | 107 | 128 | 142 | 145 | 113 | 126 | 136 | 161 | 145 | 167 | 186 | 168 | 170 | 178 | 208 | | A* , мм | 21 | 21 | 21 | 21 | 21 | 24 | 25 | 45 | 28 | 28 | Ø26 | Ø30 | Ø36 | | B*, мм | 26 | 26 | 26 | 26 | 26 | 26 | 25 | 25 | 31 | 42 | | Тип верхнего монтажного фланца по ISO 5210 (ISO 5211) | F-07 | F-10 | F-14 | F-16 | | Ø D2 внешний диаметр присоединительного фланца, мм | 90 | 125 | 175 | 210 | | Ø E , мм | 70 | 102 | 140 | 165 | | Ø FxG, мм x шт | 10()9x4 | 12x4 | 19(18)x4 | 23(22)x4 | | Вес, кг | | 2,5 | 3 | 3,6 | 4 | 4,8 | 6,3 | 7,4 | 15,8 | 188 | 27 | 42,5* | 60,5* | 75,5* | 105,0* | 174,0* | | Крутящий момент, Н*м при перепаде Δ P, bar ("момент срыва" после простоя может превышать указанный в 1,5 - 2 раза) | 3 | 5 | 5 | 15 | 18 | 21 | 33 | 45 | 79 | 126 | 161 | 245 | 520 | 590 | 840 | 1000 | | 6 | 7 | 7 | 16 | 21 | 28 | 36 | 85 | 140 | 210 | 270 | 300 | 624 | 1120 | 1390 | 2200 | | 10 | 10 | 15 | 20 | 30 | 50 | 89 | 115 | 180 | 270 | 390 | 500 | 897 | 1450 | 1800 | 3450 | | 16 | 20 | 23 | 29 | 39 | 59 | 95 | 120 | 220 | 350 | 560 | 950 | 1400 | 1950 | 2500 | 3800 | | Кv, м3/час при открытии на угол | 90° | 70 | 115 | 180 | 260 | 480 | 980 | 1690 | 2850 | 4390 | 6490 | 8680 | 10760 | 15095 | 18975 | 24145 | | 80° | 61 | 92 | 140 | 210 | 420 | 870 | 1440 | 2370 | 3750 | 5290 | 6990 | 9320 | 12705 | 15090 | 20710 | | 70° | 40 | 62 | 92 | 141 | 269 | 550 | 901 | 1530 | 3210 | 3550 | 4400 | 5610 | 7935 | 9905 | 14230 | | 60° | 24 | 46 | 72 | 113205 | 428 | 698 | 1134 | 1873 | 2690 | 3540 | 4400 | 5610 | 7935 | 9905 | 14230 | | 50° | 16 | 24 | 37 | 56 | 106 | 218 | 363 | 614 | 1010 | 1410 | 1900 | 2300 | 3195 | 3970 | 5265 | | 40° | 10 | 15 | 23 | 34 | 66 | 145 | 223 | 374 | 592 | 890 | 1130 | 1470 | 1985 | 2420 | 3280 | | 30° | 4,4 | 739 | 13 | 20 | 37 | 78 | 129 | 221 | 341 | 490 | 655 | 780 | 1080 | 1385 | 1900 | | 25° | 2,6 | 5,2 | 8,8 | 14 | 24 | 54 | 152 | 175 | 236 | 340 | 430 | 565 | 780 | 975 | 1298 | * - "BS" - без рукоятки, под установку редуктора или привода, веса с редуктором см. в таблице ниже. Чертеж габаритный затвора поворотного дискового чугунного межфланцевого ABRA-BUV-VF826DxxxG и ABRA-BUV-VF863DxxxG и ABRA-BUV-VF866DxxxGс редуктором  | Габаритные размеры, вес затвора поворотного дискового чугунного ABRA-BUV-VF826DxxxG и ABRA-BUV-VF863DxxxG и ABRA-BUVVF866DxxxGДу32-600 Ру 16, межфланцевого с редуктором. Размеры в мм. | Затвор | Ду | Lg* | Dw | A | A1 | K* | K | Вес, кг | | BUV- VF ххх D32/40G | 32/40 | 195 | 150 | 54 | 117 | 65 | 45 | 4,5=2,5+2,0 | | BUV- VF ххх D050G | 50 | 205 | 70 | 133 | 5,0=3,0+2,0 | | BUV- VF ххх D065G | 65 | 215 | 79 | 143 | 5,6=3,6+2,0 | | BUV- VF ххх D080G | 80 | 222 | 85 | 154 | 6,0=4,0+2,0 | | BUV- VF ххх D100G | 100 | 232 | 106 | 166 | 6,8=4,8+2,0 | | BUV- VF ххх D125G | 125 | 246 | 107 | 181 | 8,3=6,3+2,0 | | BUV- VF ххх D150G | 150 | 258 | 112 | 201 | 9,4=7,4+2,0 | | BUV- VF ххх D200G | 200 | 357 | 300 | 175 | 231 | 74 | 43 | 18,8=15,8+3,0 | | BUV- VF ххх D250G | 250 | 387 | 208 | 275 | 21,8=18,8+3,0 | | BUV- VF ххх D300G | 300 | 404 | 237 | 298 | 81 | 108 | 30,0=27,0+3,0 | | BUV- VF ххх D350G | 350 | 432 | 280 | 355 | 59,0=42,5+16,5 | | BUV- VF ххх D400G | 400 | 498 | 323 | 390 | 124 | 150 | 77,0=60,5+16,5 | | BUV- VF ххх D450G | 450 | 526 | 359 | 435 | 92,0=75,5+16,5 | | BUV- VF ххх D500G | 500 | 554 | 377 | 440 | 141,0=105,0+36,0 | | BUV- VF ххх D600G | 600 | 627 | 436 | 516 | 129 | 210,0=174,0+36,0 | | Спецификация деталей и материалов затвора поворотного дискового чугунного ABRA-BUV-VF826Dxxx и ABRA-BUV-VF863Dxxx и ABRA-BUV-VF866Dxxx Ду32-150 Ру 10/16, Ду200-600 Ру16 межфланцевого: Покрытие поверхности (окраска) порошковое эпоксидное электростатическое с предварительным нагревом и выдержкой до полной полимеризации. | Наименование для Ду32-300 | Материал (для ABRA-BUV-VF826D) | Материал (для ABRA-BUV-VF866D) | Материал (для ABRA-BUV-VF863D) | | 1. Корпус | Чугун FC25 = DIN GG25 | | 2. Нижний подшипник | Армированный PSF/PCU с графитовой вставкой + PTFE | | 3. Седло | EPDM (Этиленпропиленовый вулканизированный каучук = резина) | NBR (Бутадиеннитрильный каучук = резина) | | 4. Запорный диск | Чугун FCD45 = DIN GGG40/GGG50 | Нержавеющая сталь SUS316 = AISI316/ W.nr.1.4401 | | 5. Длинный подшипник | Армированный PSF/PCU с графитовой вставкой | | 6. Шток | Нержавеющая сталь SUS410=AISI410 | | 7. Манжета | EPDM (Этиленпропиленовый вулканизированный каучук = резина) | NBR (Бутадиеннитрильный каучук = резина) | | 8. Уплотнительное кольцо | NBR (Бутадиеннитрильный вулканизированный каучук = резина) | | 9. Короткий подшипник (2 шт) | Армированный PSF/PCU с графитовой вставкой + PTFE | | 10. Стопорная шайба-втулка | Углеродистая сталь | | 11. Верхняя крышка с разметкой | Углеродистая сталь | | 12. Рукоятка или редуктор | Кованная сталь | | Наименование для Ду350-600 | Материал (для ABRA-BUV-VF826D) | Материал (для ABRA-BUV-VF866D) | Материал (для ABRA-BUV-VF863D) | | 1.; 2. Корпус и пробка | Чугун FC25 = DIN GG25 | | 3.; 7. Шток | Нержавеющая сталь SUS410=AISI410 | | 4. Седло | EPDM (Этиленпропиленовый вулканизированный каучук = резина) | NBR (Бутадиеннитрильный каучук = резина) | | 5. Запорный диск | Чугун FCD45 = DIN GGG40/GGG50 | Нержавеющая сталь SUS316 = AISI316/W.nr.1.4401 | | 6. Длинный подшипник (2 шт.) | Армированный PSF/PCU с графитовой вставкой + PTFE | | 8. Манжета | EPDM (Этиленпропиленовый вулканизированный каучук = резина) | NBR (Бутадиеннитрильный каучук = резина) | | 9. Уплотнительное кольцо | NBR (Бутадиеннитрильный вулканизированный каучук = резина) | | 10. Короткий подшипник (2 шт) | Армированный PSF/PCU с графитовой вставкой | | 11. Стопорная шайба-втулка | Углеродистая сталь | | 12. Редуктор | Кованная сталь | Описание присоединительных размеров + подходящих стандартов присоединения затвора поворотного дискового чугунного ABRA-BUV-VF826Dxxx Ду32-200 Ру 10/16, Ду250-600 Ру16 и ABRA-BUV-VF863Dxxx Ду32-200 Ру 10/16, Ду250-600 Ру16 . И ABRA-BUV-VF866Dxxx Ду32-200 Ру 10/16, Ду250-600 Ру16 Размеры в мм | Тип присоединения | Подходящие стандарты ответных фланцев - смотри на странице 84 | | Строительная длина (расстояние между ответными фланцами) | Размер C на габаритном чертеже и в таблице выше | | Количество сквозных отверстий на каждом фланце (КСО) | 4 | 8 | 12 | 16 | 20 | | Диаметр сквозных отверстий на фланце (ответном!) | 18 | 23 | 27 | 26 | 30 | 33 | 36(39) | | Требования к ответному крепежу | Ду32/ 40 | Ду50 | Ду65 | Ду80 | Ду100 | Ду125 | Ду150 | Ду200 | Ду250 | Ду300 | Ду350 | Ду400 | Ду450 | Ду500 | Ду600 | | Размер болта. ГОСТ 7798-70 и ГОСТ10602-94 | М16х100 | М16х130 | М20х140 | М24х170 | М24х180 | М27Х220 | М27Х260 | М30Х270 | М36Х310 | | Рекомендуемая длина шпильки (для тех, кто не любит болты) | М16х120 | М16х130 | М16х160 | М20х170 | М24х200 | М24х210 | М24х210 | М27Х290 | М30Х300 | М36Х340 | | Размер гайки (!для каждой шпильки - двух гаек) | М16 | М20 | М24 | М27 | М30 | М36 | Подходящие стандарты ответных фланцев: Гарантированно подходящими являются "воротниковые" фланцы по ГОСТ 12821-80 исполнения 1, рядов 1 и 2 по ГОСТ 12815-80, но, тем не менее, приведем таблицу стандартов ответных фланцев между которыми вполне возможно установить затворы поворотные ABRA-BUV-VF826Dxxx Ду32-600 и ABRA-BUV-VF863Dxxx Ду32-600 и ABRA-BUV-VF866Dxxx Ду32-600, если монтажники имеют достаточную квалификацию и строго следуют инструкции по установке и монтажу. Возможные варианты поставки: с ручкой, с концевыми выключателями для ручки; с редуктором, с концевыми выключателями на редуктор |