Трубопроводная и запорная арматура (для жидкостей), приводы (720)
ЗАПОРНАЯ АРМАТУРА С ЭЛЕКТРО И ПНЕВМОПРИВОДАМИ (29)
НАСОСНОЕ ОБОРУДОВАНИЕ (25)
НАСОСНЫЕ СТАНЦИИ (4)
НАСОСЫ И АРМАТУРА ДЛЯ ХИМИЧЕСКИХ СРЕД (52)
ОБОРУДОВАНИЕ ДЛЯ СБОРА И ВОЗВРАТА КОНДЕНСАТА (112)
БИМЕТАЛЛИЧЕСКИЕ КОНДЕНСАТООТВОДЧИКИ (13)
КОНДЕНСАТНЫЕ НАСОСЫ (6)
КОНДЕНСАТООТВОДЧИКИ ДЛЯ СИСТЕМ СЖАТОГО ВОЗДУХА (9)
КОНДЕНСАТООТВОДЧИКИ С ОПРОКИНУТЫМ ПОПЛАВКОМ (14)
ПОПЛАВКОВЫЕ КОНДЕНСАТООТВОДЧИКИ (32)
РЕКУПЕРАТОРЫ ПАРА (2)
СЕПАРАТОРЫ ПАРА И СЖАТОГО ВОЗДУХА (4)
СМОТРОВЫЕ СТЕКЛА (13)
ТЕРМОДИНАМИЧЕСКИЕ КОНДЕНСАТООТВОДЧИКИ (5)
ТЕРМОСТАТИЧЕСКИЕ КОНДЕНСАТООТВОДЧИКИ (10)
УСТАНОВКИ СБОРА И ВОЗВРАТА КОНДЕНСАТА (4)
РАСШИРИТЕЛЬНЫЕ БАКИ (9)
РЕГУЛИРУЮЩАЯ АРМАТУРА ПРЯМОГО ДЕЙСТВИЯ (155)
РЕГУЛИРУЮЩАЯ АРМАТУРА С ЭЛЕКТРО И ПНЕВМОПРИВОДАМИ (34)
СИСТЕМЫ ПОЖАРОТУШЕНИЯ (4)
СОЛЕНОИДНЫЕ КЛАПАНЫ И КЛАПАНЫ С ПНЕВМОПРИВОДОМ (38)
ТРУБОПРОВОДНАЯ АРМАТУРА (257)
БАЛАНСИРОВОЧНЫЕ КЛАПАНЫ (15)
ГИБКИЕ ВСТАВКИ (6)
ГИДРАВЛИЧЕСКИЕ СТРЕЛКИ (3)
ДИСКОВЫЕ ПОВОРОТНЫЕ ЗАТВОРЫ (13)
ЗАПОРНЫЕ ВЕНТИЛИ (17)
ИНДИКАТОРЫ УРОВНЯ VYC (2)
КЛИНОВЫЕ ЗАДВИЖКИ (15)
КОТЛОВАЯ АВТОМАТИКА (13)
ОБРАТНЫЕ КЛАПАНЫ (29)
ОХЛАДИТЕЛИ ОТБОРА ПРОБ (2)
ПРЕДОХРАНИТЕЛЬНЫЕ КЛАПАНЫ (26)
СЕПАРАТОРЫ ВОЗДУХА (9)
ФИЛЬТРЫ (20)
ШАРОВЫЕ КРАНЫ (70)
ШИБЕРНЫЕ ЗАТВОРЫ (17)
ШКАФЫ УПРАВЛЕНИЯ ГРАНТОР (2)
КАК КУПИТЬ
Процедура покупки товара в нашем Каталоге очень проста и состоит из нескольких шагов.
Перейти в интернет-магазинВыберите товар:
Вы можете выбрать товар из каталога ПРОГРЕССИВНЫЕ РЕШЕНИЯ и
Оформление заказа:
Мы вышлем Вам коммерческое предложение после подтверждения объема заказа
Оплата по счету:
Вы можете оплатить заказ по счету. Заказ может оплатить юридическое лицо с расчетного счета, так и физическое лицо со счета электронной карты. Перечисление средств займет от 1 до 3 банковских дней
Задвижка клиновая с обрезиненным клином АДЛ ГРАНАР KR11, Ду40-800, Ру16, фланец
Задвижка клиновая с обрезиненным клином ABRA A40-16, Ду40-600, Ру10-16
Назначение
В зависимости от размера заказа предоставляются скидки
Задвижка с обрезиненным клином чугунная фланцевая ABRA-A-40-16G Ду 040-600* (1 1/2"-24"): Ду40-150 Ру 10/16, Ду200-600 Ру16
Применение
Основные области применения таких задвижек -для трубопроводов, транспортирующих воду, нейтральные среды.
Конструкция задвижки позволяет использовать её в системах канализации. Кроме того, данную конструкцию можно использовать на
другие нейтральные жидкости.
- Задвижки, проходят двойной контроль качества - после гидроиспытаний дополнительно испытываются воздухом
-
Малое гидравлическое сопротивление задвижек обеспечивает великолепные гидравлические характеристики.
-
Задвижка клиновая фланцевая - это трубопроводная арматура, в которой запирающий элемент перемещается возвратно-поступательно перпендикулярно направлению потока рабочей среды
-
Минимальная строительная длина обеспечивает отличные эксплуатационные характеристики.
-
Полнопроходная конструкция позволяет использовать данные задвижки даже в системах канализации.
-
Конструкция клиновой задвижки обеспечивает при необходимости полную разборность конструкции.
-
Очевидно, что задвижка клиновая с обрезиненным клином допускает возможность подачи среды в любом направлении.
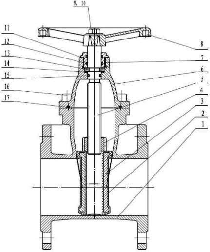
Чертеж габаритный задвижки клиновой с обрезиненным клином и невыдвижным штоком ABRA-A40-16D(G) чугунной ( размеры в таблице ниже):

|
|
| ||||||||||||||||||||||||||||||||||||||||||||||||||||||||||||||||||||||||||||||||||||||||||||||||||||||||||||||||||||||||||||||||||||||||||||||||||||||||||||||||||||||||||||||||||||||||||||
| Вариант 1. | Вариант 2. | ||||||||||||||||||||||||||||||||||||||||||||||||||||||||||||||||||||||||||||||||||||||||||||||||||||||||||||||||||||||||||||||||||||||||||||||||||||||||||||||||||||||||||||||||||||||||||||
|
Габаритные размеры, рабочие давления и температуры, вес и Kv (таблица) задвижки клиновой с обрезиненным клином и невыдвижным штоком ABRA-A40-16D(G) Ду 040-400 Ру 16 фланцевой. Присоединение фланец/фланец . Размеры в мм.
Покрытие поверхности (окраска) порошковое эпоксидное электростатическое с предварительным нагревом и выдержкой до полной полимеризации.
| |||||||||||||||||||||||||||||||||||||||||||||||||||||||||||||||||||||||||||||||||||||||||||||||||||||||||||||||||||||||||||||||||||||||||||||||||||||||||||||||||||||||||||||||||||||||||||||
|
Спецификация деталей и материалов задвижки клиновой фланцевой с обрезиненным клином и невыдвижным штоком ABRA-A40-16D(G) Ду 040-400 Ру 16 фланцевой : Покрытие поверхности (окраска) порошковое эпоксидное электростатическое с предварительным нагревом и выдержкой до полной полимеризации.
| |||||||||||||||||||||||||||||||||||||||||||||||||||||||||||||||||||||||||||||||||||||||||||||||||||||||||||||||||||||||||||||||||||||||||||||||||||||||||||||||||||||||||||||||||||||||||||||
|
Таблица замены (взаимозаменяемости по габаритным и присоединительным размерам) для клиновой задвижки ABRA-A40-16D(G) по DIN3202 F4 = EN558-1 GR (серия) 14:
| |||||||||||||||||||||||||||||||||||||||||||||||||||||||||||||||||||||||||||||||||||||||||||||||||||||||||||||||||||||||||||||||||||||||||||||||||||||||||||||||||||||||||||||||||||||||||||||
|
| |||||||||||||||||||||||||||||||||||||||||||||||||||||||||||||||||||||||||||||||||||||||||||||||||||||||||||||||||||||||||||||||||||||||||||||||||||||||||||||||||||||||||||||||||||||||||||||
|
Описание присоединительных размеров + подходящих стандартов присоединения задвижки клиновой фланцевой с обрезиненным клином и невыдвижным штоком ABRA-A40-16D(G) Ду 040-400 Ру 16. Все размеры в мм.
| |||||||||||||||||||||||||||||||||||||||||||||||||||||||||||||||||||||||||||||||||||||||||||||||||||||||||||||||||||||||||||||||||||||||||||||||||||||||||||||||||||||||||||||||||||||||||||||
|
Подходящие стандарты ответных фланцев:
| |||||||||||||||||||||||||||||||||||||||||||||||||||||||||||||||||||||||||||||||||||||||||||||||||||||||||||||||||||||||||||||||||||||||||||||||||||||||||||||||||||||||||||||||||||||||||||||
|
Инструкция по монтажу, установке и эксплуатации задвижки клиновой с обрезиненным клином и невыдвижным штоком ABRA-A40-16D(G) Ду 040-400 Ру 16 фланцевой
Для удобства обслуживания и осмотра рекомендуется устанавливать задвижки в следующих рабочих положениях: -вертикальном (при положении маховика сверху), -горизонтальном (при положении маховика с отклонением от вертикали не более 90°С). Правила хранения.
|


